Ningbo Richge TechnolitanT Technology Co. , Ltd.
Ningbo Richge TechnolitanT Technology Co. , Ltd.
ထုတ်ကုန်များ

ရထားလမ်းကိရိယာစီးရီးကိုလမ်းညွှန်

Guide Rail Device Series

The switchgear guide rail is used for support and guide electrical equipment or components to move in the switchgear.  

Support and guide: Provide support for electrical equipment or components to ensure the stable position in the switchgear and guide them to move in a specific direction for easy installation, commissioning and maintenance.

Easy installation and removal: Allow electrical equipment or components to be easily inserted or unplugged from the switchgear, improving the efficiency of installation and maintenance.

Protect equipment: Reduce friction and collision between the equipment and the distribution cabinet during the plug-in and unplug process, thereby protecting the surface and internal structure of the equipment from damage.

Improve space utilization: By reasonably arranging the guide rails, the space in the distribution cabinet can be fully utilized, making the installation of electrical equipment more compact and orderly.


ထုတ်ကုန်များ
View as  
 
လျှပ်စစ် Switchgear အတွက်ရထားလမ်းရထားလမ်း

လျှပ်စစ် Switchgear အတွက်ရထားလမ်းရထားလမ်း

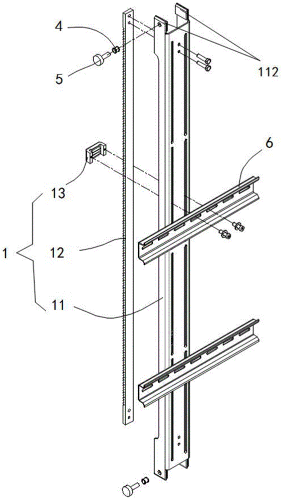
လျှပ်စစ် SwitchGear အတွက်ရထားလမ်းဆိုင်ရာရထားလမ်းသည် switchgear အစိတ်အပိုင်းများကိုအဓိကအားဖြင့်လျှပ်စစ်ပစ္စည်းကိရိယာများတွင်အသုံးပြုသော switchgear အစိတ်အပိုင်းများကိုထောက်ပံ့ခြင်း, လမ်းညွှန်ခြင်းနှင့်တပ်ဆင်ခြင်းအတွက်စက်မှုဖွဲ့စည်းပုံဖြစ်သည်။ ၎င်း၏ဒီဇိုင်း၏အဓိကရည်ရွယ်ချက်မှာ SwitchGear, တိကျသောချိန်ညှိမှုနှင့်နောက်ပြုပြင်ထိန်းသိမ်းမှုနှင့်နောက်ပြုပြင်ထိန်းသိမ်းမှုနှင့်အစားထိုးခြင်း၏တည်ငြိမ်မှုကိုသေချာစေရန်ဖြစ်သည်။ Rails များကိုများသောအားဖြင့်အလူမီနီယမ်အလွိုင်းသို့မဟုတ် Galvanized သံမဏိဖြင့်ပြုလုပ်ထားသောသံမဏိဖြင့်ပြုလုပ်ထားသောသံမဏိဖြင့်ပြုလုပ်ထားပြီးစွမ်းဆောင်ရည်နှင့်ချေးခြင်းကိုခံနိုင်ရည်ရှိသည်။ အထူးပတ်ဝန်းကျင်တွင် (စိုစွတ်သောသို့မဟုတ်တဖြည်းဖြည်းစားသုံးနိုင်သောနေရာများကဲ့သို့) များအတွက်ရထားလမ်းများကိုချေးညှိနှိုင်းမှုကိုကုသမှုသို့မဟုတ်သံမဏိဖြင့်ပြုလုပ်လိမ့်မည်။ crear crear traile များ, "C", "U" သို့မဟုတ် "L" သို့မဟုတ် "L" ကဏ် sections များပါ 0 င်သည်။ ထို့အပြင်လမ်းညွှန်ရထားလမ်း၏စံအရွယ်အစား၏စံအရွယ်အစားသည်ပစ္စည်းကိရိယာများတပ်ဆင်ခြင်းကိုလွယ်ကူချောမွေ့စေသည့်နိုင်ငံတကာသတ်မှတ်ချက်များနှင့်ကိုက်ညီသည်။ ကြမ်းတမ်းသောပတ် 0 န်းကျင်ကိုရင်ဆိုင်ဖြေရှင်းနိုင်ရန်လမ်းညွှန်ရထားလမ်း၏မျက်နှာပြင်သည် corrosion ခုခံမှုကိုတိုးတက်စေရန် Guide ရထားလမ်း၏မျက်နှာပြင်သည် Glockophoretic above နှင့်အခြားကုသမှုများဖြစ်နိုင်သည်။
လျှပ်စစ် SwitchGear လမ်းညွှန်ရထားလမ်း

လျှပ်စစ် SwitchGear လမ်းညွှန်ရထားလမ်း

Richge ဆိုသည်မှာ Swege Systems ၏တည်ငြိမ်အေးချမ်းရေးနှင့်လုပ်ဆောင်နိုင်စွမ်းကိုမြှင့်တင်ရန်ဒီဇိုင်းအင်ဂျင်နီယာဖြေရှင်းနည်းများကိုအထူးပြုပြုလုပ်သောလျှပ်စစ် switchgear ည့်သည်ဂျက်ရထားလမ်းများထုတ်လုပ်သူဖြစ်သည်။ ကျွန်ုပ်တို့၏လမ်းညွှန်သံလမ်းများသည်လျှပ်စစ် SwitchGear Creamblesies ၏ယုံကြည်စိတ်ချရမှုနှင့်ချောမွေ့စွာလုပ်ဆောင်ခြင်းကိုသေချာစေရန်,
SwitchGear အတွက်လူမီနီယမ်လမ်းညွှန်ရထားလမ်း

SwitchGear အတွက်လူမီနီယမ်လမ်းညွှန်ရထားလမ်း

Richge ဆိုသည်မှာတရုတ်နိုင်ငံရှိ Switlegear အတွက် Swamalum လမ်းညွှန်ရထားလမ်းအတွက်လူမီနီယမ်လမ်းညွှန်ရထားလမ်းအတွက်တရုတ်နိုင်ငံရှိ SwitchGear Treeary ကိုထုတ်လုပ်သည်။ ကျွန်ုပ်တို့၏အလူမီနီယမ်လမ်းညွှန်ရထားလမ်းများသည်ပေါ့ပါးသောဒီဇိုင်းကိုကြာရှည်ခံနိုင်ပြီးခေတ်သစ် Switchear application များအတွက်အကောင်းဆုံးရွေးချယ်မှုတစ်ခုပြုလုပ်သည်။
Richge သည် တရုတ်နိုင်ငံရှိ ပရော်ဖက်ရှင်နယ် ရထားလမ်းကိရိယာစီးရီးကိုလမ်းညွှန် ထုတ်လုပ်သူနှင့် တင်သွင်းသူဖြစ်သည်။ ကျွန်ုပ်တို့၏စျေးနှုန်းချိုသာသောထုတ်ကုန်များကိုသင်စိတ်ဝင်စားပါကကျွန်ုပ်တို့ကိုဆက်သွယ်ပါ။
သတင်းအကြံပြုချက်များ
X
သင့်အား ပိုမိုကောင်းမွန်သောကြည့်ရှုမှုအတွေ့အကြုံကို ပေးဆောင်ရန်၊ ဆိုက်အသွားအလာကို ပိုင်းခြားစိတ်ဖြာပြီး အကြောင်းအရာကို ပုဂ္ဂိုလ်ရေးသီးသန့်ပြုလုပ်ရန် ကျွန်ုပ်တို့သည် ကွတ်ကီးများကို အသုံးပြုပါသည်။ ဤဆိုက်ကိုအသုံးပြုခြင်းဖြင့် ကျွန်ုပ်တို့၏ cookies အသုံးပြုမှုကို သင်သဘောတူပါသည်။ ကိုယ်ရေးအချက်အလက်မူဝါဒ
ငြင်းပယ်ပါ။ လက်ခံပါတယ်။